| 时间:2021-05-06 | 编辑:E航小E | 阅读:1290 | 分享: |
导读
船舶柴油机的起动换向性能是影响船舶动力装置机动性的一个重要原因。
在各种海损事故中,由船舶主柴油机故障而引起的海损事故占有一定比例。
现以某拖轮为例,介绍排除此类故障的一些做法。
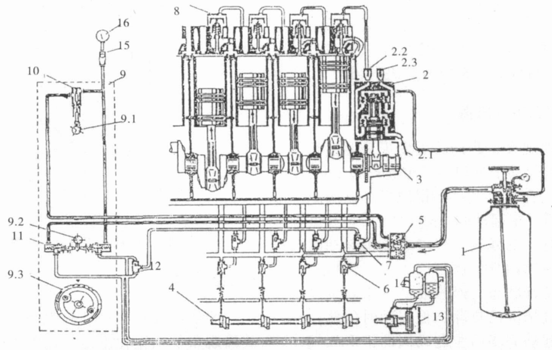
事故拖轮的主机使用6NVD36.1AV型船用柴油机作为主机,它是一种可逆转、单作用、 四冲程、六缸、筒形活塞并带增压式船用柴油机,可直接驱动螺旋桨,该系列型机以性能稳定,动力性强,操纵灵活方便等优点。其操纵系统如图1所示。

图1 6NVD36.1AV型船用主机操纵起动系统图

一
工作原理及故障现象
1.起动原理
首先来自主空气瓶压力空气经过主起动阀(5)的阀杯周围分三路分别流至压力表,正车、倒车换向阀,经过起动控制阀(10)作用于主起动阀(5)的阀杯顶部,使主起动阀(5)保持关闭。
当操纵手轮(9.3)依逆时针方向转动到正车起动位置时,起动凸轮(9.1) 推动起动控制阀(10)阀芯,关闭来气,把作用于主起动阀(5)的阀杯顶部的压力空气通大 气,使主起动阀(5)在主空气瓶高压空气作用下打开,高压空气进入空气总管后分两路,一路到各缸起动阀(8)处等待,另一路分别到各 缸的起动分配阀(6),由起动分配阀按次序控制各缸起动阀(8)启闭,让高压空气按次序进入各气缸,推动柴油机运转,各缸按次序喷油,柴油机起动;
柴油机起动后,起动凸轮 (9.1)转过起动位置,起动控制阀(10)复位,压力空气重新作用于主起动阀(5)的阀杯顶部,使主起动阀(5)关闭,起动过程结束。
2.换向原理(当凸轮轴在倒车位置时开正车)
(1)将操纵手轮(9.3)依逆时针方向转到顺车运转位置时,来自主空气瓶压力空气流动顺序与前述相同,此时由于连锁装置(图2)阻止偏心摇杆运动,使之不能继续转动。
偏心摇杆上端受连锁装置所阻,形成支点,则下端顶开顺车换向阀,于是等在该阀的压缩空气分两路流至:
①转换阀(12)推动其中滑阀,使空气经 各缸转换阀(7)顶开各缸气缸起动阀(8),各汽缸内气体经空气起动总管至主起动阀(5)下部泄放阀而通大气,以消除各汽缸内的压力,从而减去进排气阀的压力,有利于凸轮轴的移动。
② 正车油缸(14)使油受压而推动换向油缸(13)柱塞拉动凸轮轴,同时,倒车油缸上部的背压空气经倒车换向阀排放大气。
(2)当凸轮轴拉到位时,推动连锁装置而释 放偏心摇杆,顺车换向阀关闭,顺车换向阀去的两路空气便回至该阀排放,气缸起动阀关闭。
(3)凸轮轴是否到位,从手动应急换向装置的六角头部的标记识别。 该船的操纵系统在修理前,柴油机起动困难,耗空气量非常大,常常主空气瓶3. 0 Mpa空气只能起动二、三次;从未出现过换向的机油出现异常泄漏,但常常发生换向不到位的情况,靠人工扳动使凸轮轴到位才能起动。
船方一直认为主起动阀漏气致使耗空气量大的主要原因,经过多次拆修,但都没有解决问题。
二
原因分析与故障排除
通过详细地观察,我们首先发现最明显的 现象是在柴油机起动全过程中,主起动阀(5)的锥形放气阀一直在泄气,根据原理,该阀应在柴油机起动后,主起动阀(5)关闭后打开该 阀放出主空气管中的残气。
经过对该主起动阀的拆检,发现该阀内部的阀杆己丢失,锥形放气阀一直处在常开状态,经修复后,重新装复试机,该阀漏气情况己排除,但起动时仍然耗气量非常大,起动完毕后主起动阀的锥形放气阀有烟排出等现象。
从这现象说明此柴油机起动后主起动阀仍然打开给各气缸供气,就是主起动阀关闭延迟,从原理发现主起动阀(5)的启闭是由起动控制阀(10)来决定,当操纵手轮(9.3)到起动位置时。
起动凸轮(9.1)顶起起动控制阀(10)阀芯来阻止压力空气进入主起动阀(5)上部,同时让主起动阀上部通大气,来自主空气瓶的高压空气使主起动阀打开。
通过分析确认主起动阀的关闭延迟是由于该阀引起,经过拆检,发现该阀阀芯变形,阀芯在阀套内的活动受阻,使弹簧的张力要阀芯复位速度减慢引起压力空气迟迟没能到达主起动阀(5)上部,至使主起动阀关闭延迟。
经过修理后柴油机的起动正常。
可是这时对柴油机进行换向,发现前后换向凸轮轴都不能到位,还有如下现象,就是进行换向的凸轮轴刚刚开始移动一半,马上换向阀排气口就泄气,凸轮轴就停止移动。
从换向原理发现换向阀(11) 打开与泄气受到偏心摇杆的连锁装置控制(如图2),靠偏心摇杆与正倒车挡板形成支点操纵正倒车阀来完成柴油机的换向,经过拆卸发现 连锁挡板与偏心摇杆接触处都严重磨损,在排除此故障时,我们采用填焊恢复其尺寸的方法。
经过修复,柴油机起动、换向都一切正常。

图2 连锁装置与偏心摇杆图
三
结束语
船舶柴油机在多种故障并存时,所产生的故障现象复杂变化不定,让人无从下手,这时候要抓住现象的根本特征问题分析解决。
本文原创作者系:
广东茂名海事局 陈超龙
END
来源:网络
电话:025-85511250 / 85511260 / 85511275
传真:025-85567816
邮箱:89655699@qq.com



