| 时间:2020-10-07 | 编辑:E航网管理员 | 阅读:835 | 分享: |
内燃机燃用非液体燃料不是新问题。
最早的强制点火内燃机就是燃用气体燃料的, 而最早的压燃式内燃机是燃用煤粉的。
以后由于技术和经济的原因, 安全、方便、价廉和资源丰富的液体燃料才广泛用于内燃机, 同时也促进了上一世纪石油工业的发展。
随着石油资源的逐步枯竭, 动力燃料的结构发生相应的变化, 加上船舶又面临日益严格 的排放要求, 内燃机燃用气体燃料成为近年来普遍提到的问题。
原本按燃用液体燃料设计的船舶柴油机改燃气体燃料需要解决保证安全和如何组织燃烧 等方面的问题。

下面我们展开对此进行讨论。
一
二种气体燃料
我们讨论的气体燃料是指液化石油气和液化 天然气, 至于发生炉煤气则属于另一种气体燃料, 不在本文讨论之列。
(后续我们会有专题探讨生物质气体机。)
液化石油气(LPG)主要是丙烷和丁烷。
液化天然气(LNG)则主要是甲烷。
相对于柴油或燃料油上述气体燃料属于更为清洁的燃料。

二
缸内燃烧和气体储存
由于上述气体分子的活化能很高, 不可能在 缸内自燃, 必须有外源点火。
气体燃料在缸内的燃烧方式有两种。
一种为纯气体燃料发动机, 用火花塞点火, 属速燃循环;
另一种为双燃料方式, 用柴油喷入缸内引燃, 属混燃循环。
不论采用何种燃烧方式, 气体可直接喷入气缸,也可在进气阀前的气缸头内供入, 或在 进气总管中供入。
由于后一方式结构简单, 故特别适合原燃用液体燃料的柴油机改燃气体的场合采用。
对于小型柴油机, 改造时也可采用成熟的汽车用供气装置。
船舶储存气体燃料可有三种方式:
1、在气瓶中储存高压气体;
2、将气体在压力下液化后常温储存;
3、将气体在较低压力下液化后超低温储存。
其中第2种方式仅适用于LPG燃料。
第3种方式仅在LNG运输船上采用。
由于LPG和LNG都是高压可燃气体, 考虑机舱供气系统的布置时应十分慎重。

三
气体燃料发动机的技术性能
液化气内燃机如合理组织燃烧其热效率可不低于液体燃料发动机。

目前, 大部分著名柴油机制造厂如(MAN、Wärtsilä、Pielstick、国内主机厂如中船集团、潍柴、济柴、淄柴、玉柴、宁动等) 均生产气体燃料发动机或双燃料发动机, 主要用于陆上电站 动力或LNG运输船主机。

其耗热率为9~10.5(mJ/kW.h) ,相当于现代中、高速柴油机的耗油率200~300(g/kW.h)。
由于结炭减少以及对缸套润滑油的稀释减 少,气体内燃机的磨损明显低于柴油机。
而混合装置和供气系统的结构较简单。
气体内燃机的维护保养费用也不高于柴油机。
气体燃料的供应、驳运以及在船舶上的储存是船舶改燃气体的额外消耗。
装置的重量、体积和成本取决于气体燃料品种。
小型船舶改燃气体还须考虑储气装置所占舱容。
目前主要在两种船舶上采用气体燃料。
一种是运输船的主机, 所用气体燃料为运送液化气必须挥发的气体。
如不利用, 这部分气体将排入大气。
一种是短途小型船舶主机, 如港作船、渡船及某些内河船舶, 它们可以停泊时加液化气。
随着技术的发展, 气体发动机在船舶上的应 用会进一步扩大。

四
环保和排放
目前提出船舶柴油机燃用气体燃料除了经济上的考虑,还在于对付国内外日益严格的排放要求。
60年代初国际上对船舶柴油机的排放要求是:
对100KW以上功率的柴油机其氮氧化物排放不超过15g/kW.h。
到1974年要求提高到10g/kW.h。
随着柴油机强化度的提高和对环保的重视, 在2000年对新造船舶的主柴油机其排放 要求已达7g/kW.h。
排放要求只会越来越严格。
如不采取特别措施,现代柴油机的氮氧化物只能降低到5~6g/kW.h, 而改燃气体燃料后可降低到2~3g/kW.h , 甚至可达1g/kW.h。
从减低排放的观点燃用气体燃料前景是广阔的。

五
安全性
气体碳氢化合物燃烧温度比液体燃料高得 多,而其点燃能量则要低2~4倍。
相对液体燃料, 气体燃料更易燃烧和爆炸。
此外, 液化气的电阻率为:

比液体燃料高得多, 易在储液罐中引发静电爆炸。
气体燃料的毒性也对人体有害。
故如防止漏泄, 安全地燃用气体燃料至关重要。
若从安全考虑, 船舶动力燃用丙烷~丁烷混合气(LPG)含量2~2.5% 就可引爆混合气。
其次,丙烷~丁烷混合气的比重较高, 约为空气的1.5~2倍, 而其扩散系数又较低。
故一旦气瓶或系统漏泄容易在机舱中形成危险的可燃气体, 而且难以用通风的方法排气。
所以虽然可以采用上面第三节所述的2种方法(高压常温液化, 如民用液化煤气)较方便地储存气体, 但出于安全考虑,在船舶上尚难以推广。
船舶燃用甲烷(LNG)则安全得多。
甲烷的密度为空气的0.67(甲烷分子量16 , 空气分子量29),其与空气混合后的爆炸下限为5.28%容积比, 比LPG高得多。
不能在常温下液化是甲烷的缺点。
国际和我国的有关规范对可燃气体在船舶居室(包括机舱)内的浓度有严格规定。
当混合气浓度达到引爆下限的5% 时即应报警, 即报警的安全系数为20。
采用多个小容积储气瓶是合理的。
在燃用天然气时机舱电器应达到2级防爆要求。
由于碳氢化合物较难溶于人体, 且在人体血液中的浓度限值较高, 故相对于易爆性, 气体燃料毒性的危害性较小。
燃用天然气的船舶在保证安全方面应采取一系列措施, 诸如:
防止形成可燃混合气;
在燃气保存、输送、驳运及供及气缸过程中系统泄漏的检测和报警;
应急切断对发动机的供气;
提高防火措施的级别和功效等。

六
回火或放炮
气体燃料发动机的一个棘手问题是进气管的回火, 俗称放炮。
回火能使发动机停转, 严重时会损坏发动机(通常是进气管及其附件)。
对于船舶中、低速内燃机, 进气管回火往 往能成为改燃气体燃料在技术上最大的拦路虎。
由于混合气是在进气管中形成并进入气缸, 当混合气在进气管内被点燃时回火就发生了。
回火的起因很多, 以下是最可能的两种原因:
1、进气阀密封性差, 有燃气通过进气阀泄露到进气管引燃混合气。
2、燃烧室过热或有热点, 在进气过程点燃燃气。
燃气的点燃温度为 690℃, 如燃烧室内结碳, 传热系数降低, 则可能存在超过此温度的热点, 在进气或换气过程引爆混合气。
燃气的燃烧传播速度一般为3.3米/秒, 如果混合气通过进气阀时的速度大于此值,则即使发生上述情况也不致引发回火。
中、低速内燃机常不能满足此条件, 如系双燃料发动机, 则在低转速运行应自动切 换到柴油运行以避免发生回火。

七
过量空气系数问题
气体燃料在缸内燃烧时可以(并要求)有较小的过量空气数。
但原柴油机的过量空气系数都比较大, 在改为气体燃料后以原功率运行时过量空气系数偏大, 气体呈稀薄状态, 使燃烧速度减慢, 后燃严重, 排温升高。
部分负荷时更为严重。
这是柴油机改燃气体燃料的另一难点。
当燃烧的过量空气系数在2.5以上时必须采取措施。
虽可增大引燃油量,但属饮鸡止渴, 不足为法。
常用的办法是通过进气管节流以降低气缸充量系数, 即采用混合气的数量控制代替质量控制, 但调节范围很有限, 且节流后使进气真空度提高, 增大了回火倾向。
因此, 船舶内燃机改燃气体燃料后适合在满负荷下运行, 变工况时切换到纯柴油运行为好。

八
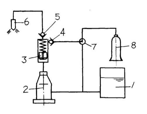
一种燃用液化气的新方法——隔离活塞
要彻底解决进气管回火的问题唯有将气体直接喷入气缸与空气混合。
许多气体发动机就是这样设计的。
但对于在用柴油机, 在改造为气体燃料发动机时, 为方便计通常都是使气体在进气 管内混合, 利用原柴油喷射系统喷射引燃油。
这种方式结构简单, 但控制如调速困难, 没有解决回火问题。
船舶柴油机大都为中、低速机, 缸径较大, 改造为气体燃料发动机后会有严重的回火倾向。
气体在进气管内混合的另一缺点是调速性能差。
已有的燃油调速器须既能控制燃油同时还须控制混合气浓度或进气真空度, 若采用后一调速方式也会加重回火倾向。
现介绍一种隔离活塞装置, 该装置可解决在用柴油机改燃液化气后的回火、调速、漏泄等大部分问题。
其设计思想是充分利用已有高压油泵供油系统在燃油定量、调节等方面的优点, 用高压油泵喷射液化气, 同时借助隔离活塞使油泵不接触液化气燃料。
隔离活塞的工作原理及结构可见图1及图 2。

图1 隔离活塞燃油系统图
图1为其燃油系统原理图。
在原有柴油机燃油喷射系统中加一隔离活塞装置(3), 原高压油泵(2)上的出油阀(5)移到隔离活塞装置的上方。
燃油从燃油柜(1)进入高压油泵(2), 高压油泵将燃油供入隔离活塞下部, 推动隔离活塞上行, 将隔离活塞上部的燃料加压, 通过喷油器(6)喷入气缸。
液化气由储气罐(8)通过三通截止阀(7)、止回阀(4)进入隔离活塞上方, 在喷射结束后隔离活塞借助弹簧复位, 并将活塞下方的柴油压回高压油泵, 同时通过止回阀(4)吸入下一循 环的液化气。
止回阀(4)可用原机的出油阀代用。
该装置实现了用原喷油泵喷射液化气但液化气并不与喷油泵接触的功能。

图2 隔离活塞的构造
图为隔离活塞的结构。
其中(1)为原高压油泵的出油阀壳, (2)为出油阀, (3)为进液止回阀, (4)为隔离活塞, (5)为进油管接头, (6)为隔离活塞装置本体, (7)为油槽。
由图2中液化气进液止回阀(3)采用了原机的喷油泵出油阀, 以简化结构提高寿命。
但该出油阀芯上的卸压肩必须磨去, 以保证供油流畅。
隔离活塞上的油槽(7)(对称布置)的功 能是通过该槽供应定量的引燃柴油以及润滑隔离活塞。
引燃柴油在隔离活塞上方与液化气充分混合后与液化气一同喷入气缸。
通过合理选择活塞直径、弹簧刚度、柴油及液化气压力等参数可以使发动机运行时隔离活塞下方的压力恒高于隔离活塞上方的压力(其前后平均压差约为喷射压力的 1%), 液化气不会通过隔离活塞漏入下部, 隔离活塞也总能获得柴油的润滑。
停机后,若液化气压力较大, 足以克服图1 中止回阀(4)的出油阀弹簧压力, 则必须 关闭图1的阀(7), 以防止液化气通过高压油泵漏出。
隔离活塞装置解决了以下问题:
1、回火——由于液化气是借助高压油泵喷射入气缸, 彻底解决了回火问题。
2、漏气——由于气体直接入气缸, 杜绝了通常非增压机进气管供气时常有的混合气反喷现象, 此种反喷源于进气管内气流的压力波动。
而高压油泵并不与液化气接触, 故不存在通过喷油泵的漏气。
3、调速——供气量完全由原机的调速系 统控制, 不须改动调速系统, 且改装前后 调速性能不变。
4、引燃柴油量——通常应将引燃柴油量调整到最低油量。
但由于小油量下各缸高压油泵供油量难以均匀, 为防止某些气缸熄火必须把引燃柴油量调高, 一般须大于15%额定油量。
采用隔离活塞后,引燃柴油量由泄油槽( 图2中7)的尺度确定, 能够保证在甚小油 量下各缸均匀供油。
5、低负荷性能——由于液化气直接喷入气缸,其燃烧方式有别于进气管混合, 对过量空气系数不敏感, 低负荷性能得以改进。
6、降低排放——由于燃油与液化气充分相溶,燃油更易雾化。
较之纯柴油, 雾化油滴更细, 更均匀。
可望降低及碳粒的排放。
我们曾采用隔离活塞在105柴油机上试燃煤浆燃料, 获得预期的满意结果。
煤浆或液化气向柴油的切换可以通过图1(4)的三通阀将柴油接入。
切换后发动机以柴油工作, 其表现与原柴油机毫无异样。
测量表明, 当系统中增加隔离活塞装置后, 喷油提前角和喷油规律改变不大。
由于柴油在喷油泵中反复压缩, 喷油泵的温度会有约 10℃ 的温升, 无碍其正常工作。
隔离活塞副由柴油润滑, 且其间隙可以做得较大, 故即使喷射煤浆燃料也不会发生 咬死的现象。

九
结束语
1、能源结构的变化和对排放要求的日趋严格是提出在用柴油机改燃气体燃料的技术经济背景。
2、从组织燃烧的角度, 船舶柴油机改燃气体燃料在技术上是可行的, 虽然在解决回火、后燃以及调速等方面有相当难度。
3、从保证船舶安全的角度, 船舶柴油机改燃气体燃料的困难更大, 因为同时必须满足各类安全规范的要求。
4、虽然LPG较易储运, 但从安全角度看, 在船舶上应用时的性能不及LNG。
5、气体燃料在船舶上使用的范围和前景尚不明朗。
目前仅宜在特殊船舶上采用,并未普及。
6、实验室试验已证明隔离活塞装置是燃用液化气或其他代用燃料的一种合理方案。
但引燃柴油与液化气一起喷入气缸对工作过程的影响等问题尚待进一步研究。
通过中间试验后应能推向实用。
END
来源:船机帮
电话:025-85511250 / 85511260 / 85511275
传真:025-85567816
邮箱:89655699@qq.com



