| 时间:2021-08-14 | 编辑:E航网 | 阅读:2463 | 分享: |
点击蓝字“船机帮”关注我们
船机故障心莫慌,遇事不决船机帮
导读
液压克令吊以其安全可靠的工作性能,被广泛应用于港口、船舶、海洋平台工程中装卸货物,大大提高了货物装卸效率。
在现代运输船舶中大多数都配备了船用货物装卸设备——液压克令吊,用 以在船舶 锚泊时进行货物的装卸或与港口货物装卸设备联合作业,加快船舶的周转,提高船舶营运经济效率。
因为克令吊使用的液压作为动力源以及其工作环境条件,所以对其系统调试、维护检修提出了更高的要求。
一
液压克令吊的介绍
船用液压克令吊一般由三大机构组成,分别为起升机构、回转机构和变幅机构,对于可移动的克令吊还有行走机构和支撑机构。
1.液压系统组成
该液压系统主要由:
动力元件 (油泵)、控制元件、执行元件、辅助元件和工作介质五部分组成。
(1)动力元件 (油泵):
利用液体作为介质把电机的机械能转换成液体的压力能,是液压传动中的动力源。
(2)执行元件:
将液体的液压能转换成机械能。油缸做直线伸缩运动,液压马达做旋转运动。
(3)控制元件:
压力阀、流量阀和方向阀。它们的作用是对液压系统中工作液体的流量、流向和压力的大小进行调节控制。
(4)辅助元件:
油箱、油管及接头、密封件、蓄能器是组成液压系统与确保系统正常工作必不可少的元件。
(5)工作介质:
工作介质是指液压油,它经过油泵和液动机 实现能量转换。
2.液压系统工作原理 (过程)
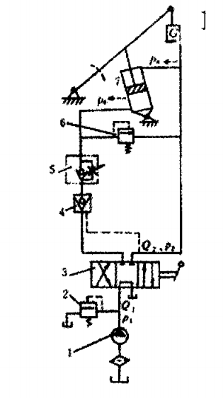
(1)定量油泵,定量液压马达(油缸)的开式克令吊系统图,它的工作过程包括制动、调速 、换向、限速以及限压保护。
1)制动和限速。
克令吊在起货、落货时,起货卷筒上都会承受着由于货物的重力而造成的单向静负荷。
如果落货时油缸排油直通油箱,货物下降速度将会很大,采用限速保护即单向节流阀限速。
如图1中5。
图1 开式系统
2)换向和调速。
为了实现工况,油马达 (油缸)的速度可以调节,在这系统中,实现换向和调速是通过操纵换向阀3,以改变流入油马达,(油缸)7中的油液的流量大小和方向来实现的。
3)限压保护。
为了防止克令吊超负荷时因液压油泵排压过高而使原动机过载或导致管路破裂,在油泵的出口处设置安全溢流阀2,过载时,则安全溢流阀2开启进行泄油限压。
当货物在下降过程中突然制动时由于惯性作用,在油缸排口至平衡之间的管道产生瞬时高压而造成液压冲击,为了保护液压元件和油管,在高低压油管中安装了制动溢流阀 6,在瞬时高压是将两边沟通而泄油限压。
(2)变量油泵,定量马达闭式系统。
如图2。
图2 闭式系统
1)换向与调速。
该闭式系统采用变量泵提供液压油的方法,因此改变油泵的吸排方向,就可以实现油马达9的转向变换;通过变量泵液压油流量的改变就可以实现速度的调节了。
2) 限速与制动。
变量泵组成的闭式系统,可以进行再生限速。当速度需要限制时,油马达9变成油泵,排出高压油输送给油泵1,油泵1转变成油马达回转带动电机回转变成发电机工况。
电动机产生的反力矩使液压系统的油压升高,平衡负荷,以达到限速目的。
3) 限压保护和失压保护。
在克令吊起货进油或落货回油时一侧为高压一侧。
为了防止油压过高,在系统中设置双向安全溢流阀12。
对采用变量泵的闭式系统,安全溢流阀能起到制动溢流阀的功能。
当高压油管在起货时突然破裂,系统中的失压保护阀5就起作用。
它由高压管路中的油压控制,当该管路的油压达到辅助油泵补油压力时即自动启动,在管路失压时,弹簧的张力将阀芯推向右端,使制动油缸8泄放油抱闸,起到失压保护作用 。
二
液压克令吊的调试
船用液压克令吊在船上安装、精度检验合格后在使用之前必须进行调整试车,使设备在正常状态下满足生产工艺对设备提出的各项要求,而且能顺利发挥其功用,符合船舶对 其的工作要求。
MCG30T一28M 折臂型克令吊调试主要内容是液压系统性能的运转调试,不仅要确认系统是否达到设计要求的工作循环,还要把组成工作循环的各个动作的受力、速度、行程调整到规定的数值。
通过调试测定系统功率损失和液压油升温对 克令吊运转的影响,同时还要检测力矩、速度和行程的可调性和操纵准确性。
1.MCG30T一28M折臂型克令吊技术参数
MCG30T一28M折臂型克令吊
起吊载荷:30T-吊钩;
起升速度:30Tx20m/min-吊钩,18Tx30m/min-吊钩;
下降速度:在额定载荷工况下50m/min;
最大旋转半径:28m;
最小旋转半径:4m;
最大起升高度:25m;
旋转角度:240;
旋转速度:0.4rmp;
俯仰周期71S;
电源:Ac440V/60Hz/3ph;
自重:55T.
2.调试前题条件
克令吊在完成以下的验收工作以后方可允许进行调试工作。
(1)克令吊主体以及附件安装已全部结束,并且经过安装验收合格;
(2)液压系统循环管路清洗合格完毕;
(3)控制液压系统电气设备以及线路已经全部安装完毕并且检验合格;
(4)对液压系统图、结构图充分的了解熟悉;
(5)克令吊吊体上运动部件要加规定的润滑油;
(6)调试现场要有明显的安全设施和标志。
3.调试准备工作
工具:电流表、绝缘表、遥控装置、红外点温仪计时秒表臂距差测量千分表、用校表划线及安装的工具 (尺子、扳手、管钳)、钢丝绳、卸扣、吊钩、起吊重物 (30T)、试验记录表格和试验步骤显明铭牌。
4.调试步骤
(1)调试前克令吊外观检查
①检查油箱中的油液牌号和清洁与否,防止灰尘、切屑杂质落入油,油液液位是否合适。
②检查各个液压元件的安装以及其管路连接是否正确可靠,液压部件、管路和管路接头位置是否便于安装、调节、检查和修理,指 示仪表是否便于观察。
③手动盘转液压泵观察转动是否轻松、均匀 ,点动泵观察期旋转方向是否正确,若方向反转侧应该把电动机马达线检查,是否线接 反了。
④清理克令吊作业半径内的障碍物,避免在做回转试验时发生意外。
(2)液压系统的调试
液压系统的调试常与克令吊试车一起,交替进行的。
调试的主要内容有克令吊空载试车、负载试车、液压系统附件单项调整。
①空载试车。
空载试车是指克令吊零负载工况下运转,检测液压系统的各液压元件,各辅助装置和系统回路的工作情况,操作是否灵活,克令吊的上升、回转和变幅动作是否灵活准确符合要求。
空载试车方法及流程:
1)启动液压油泵,使液压油泵在卸荷状态下运转起来,使整个液压系统活动部分得到足够的润滑。仔细观察泵的运转情况,有无杂音、泵体有没发热现象,注意油箱中液位的变化和油液泡沫出现。
2)排除a中出现的问题后,使克令吊在令负荷情况下运转起来。
启动液压泵,调整溢流阀到规定的压力数值,注意调节溢流阀过程中是否有异常现象。
打开系统中排气阀,操作克令吊吊臂的变幅运动,即改变吊臂俯仰角度,使液压油缸以最大行程往复运动多次,以排出系统中的空气。
控制克令吊的回转运动,观察液压马达齿轮 与转体齿轮的啮合情况,有无异常响声,克令吊的回转情况是否平稳、顺畅。
3)在调试变幅、回转的过程中要注意检查安全阀、压力继电器工作的情况,从压力表上观察油路中的压力值,检查液压元件和管路 接头处是否有液压油泄漏的现象。
4)克令吊空载运转一定时间后,检查油箱的液面下降情况,是否在规定的范围内,必要时要往油箱中补充液压油。
5)与电气配合调整检查回转、变幅和升降的动作连贯和协调情况;操作机构指令的准确性;检测液压泵启动、换向和速度转换时的平稳性,不应该有冲击,跳动的现象。
5)克令吊运转半个小时后。
检查液压油的温度,不应该超过60℃;
载试车结束后,进行负载试车。
②负载试车。
负载试车是使克令吊能够按设计规定在预定的负载工况下运行工作。
通过负载试车测试设备是否能达到预定的工作要求。不同类型的液压克令吊的最大负载也不同。
负载试车时负载应该由小到大依次进行。
对于MCG折臂型液压克令吊最大负载未 30T,在负载试验时要分为三次进行,负载依次递增。
负载试车的方法及流程:
1)操作克令吊挂钩吊起最大负载的三分之一,上升过程中速度要由慢到快,确认液压系统及机体工作正常后,把重物提高到规定的高度并且在空中停留一定时间,记录时间和速度值。
2)操作克令吊的回转、变幅动作测试换向和速度转换时运转平稳性,检查运动部件状态 ,不能有过大的噪音和振动。
3)在负载运转一段时间后注意检查液压油温度的变化情况不能超过规定值。
4)增大负载重复上述步骤;一切正常后,方可进行最大负载 (30T)试车。
③液压系统的调整。
液压系统调整是在试车过程中为了使克令吊能够安全、可靠平稳地工作,达到最佳的运行状态而对系统的附件进行的一些参数上的调整,主要包括压力、速度回转行程和换接顺序。
1)液压泵的工作压力调整。
可以通过调节泵的安全阀和溢流阀来实现,使液压泵的工作压力比电动机承受最大负载时的压力大10%。
2)压力继电器的工作压力调整,调节压力继电器上调节弹簧,使其工作压力比液压泵工作压力低0.4MPa。
3)速度行程的调节,调节行程开关、节流阀,达到减少冲击和振动的目的使运动倾向平稳,在有负载情况下,起升速度不得超过额定值的15%。
4)换接顺序调节,使操作动作的转换灵敏及精准程度满足工作要求。
三
液压克令吊的检修
克令吊是灵便型船舶提高市场竞争的重要甲板机械设备。
船舶在营运中往往由于克令吊出现故障影响装卸货进度以至延误船期,甚至造成货损、机损,给货主用船带来不便,影响了航运业务的运作及公司的信誉并给公司造成一定的经济损失。
为了稳定液压克令吊的使用性能,延长其使用寿命,最大程度地发挥其作用,必须对克令吊进行定期的检查与维修,及时发现问题,解决问题,确保克令吊运作正常。
1.液压克令吊的常见故障
故障是指整个克令吊设备、液压系统或者某些零部件不能完成其规定的功能或其性能指标恶化到规定的标准以外的现象。
(1)液压克令吊一般有以下常见故障类型及表现现象
①液压管路破损严重。
表现为:
起重能力逐步下降,达不到要求,控制液压油温度较高,压偏低。主油路泄漏过大,造成系统油压过低导致克令吊不能正常使用;
②液压泵、液压马达运动部件磨损。
导致管路中液压油流量不足,压力偏低。
③液压控制阀动作不灵敏。
例如系统中有冲击和振动,克令吊回转,变幅,上升的动作不灵敏,制动器动作异常。
④蓄能器无用。
体现在克令吊不工作时,控制油压显示正常,但是操纵手柄离开零位时,控制油压突然大幅度的降低,低压保护继电器动作而停止工作。
⑤滤油器滤芯击穿、旁通阀常常处于开启 的状态。表现出液压油被污染,控制阀容易被卡死,一些运动部件有磨损的痕迹,油箱底部有许多杂质沉淀。
⑥液压油温度偏高。
故障现象:
冷却器进口无明显温差,一些液压元件表面温度很高,液压马达的转速下降明显。
⑦冷却器失效。
造成克令吊工作正常,但是系统液压油温都偏高,而冷却器进出口温差很小,克令吊在正常工作一段时间后,高温保护继电器动作而停止。
最后根据上述的故障现象可以概述出液压克令吊的故障类型:
A 动作故障;
B 噪音和振动;
C 油温过高。
2.常见故障的修理
(1)动作故障。
主要是受液压泵和液压阀件稳定性影响的。
液压泵是液压系统的动力源,液压阀控制着系统内液压油的压力、方向和流量。
油中的污染物是导致阀失效的主要原因。
因此当出现操作不灵敏时要检查油液的干净程度,并清洗控制阀件。
为使阀的维修工作安全可靠,在拆卸液压阀之前要切断电源,避免系统意外突然的启动;要将控制阀的手柄向各个方向移动以便将系统内的压力释放。
(2)液压系统中噪声产生及预防措施:
①空气渗入液压系统是产生噪声的主要原因。
因此在液压缸上设置有排气装置以便在启动后使执行件以快速全行程往复几次动作以排出系统内的空气,防止“空穴现象的发生。
②液压泵、液压马达和轴承被磨损,使用时间长以后被磨损,通常是液压传动中产生噪声的一部分。
液压泵的磨损导致其精度不符合技术要求、密封不好、系统内的液压油压力和流量不稳定,容易产生困油现象。
解决方法,若齿轮的齿形精度变低则应对齿轮进行研磨,满足接触面精度要求;
若液压泵轴承间隙过大导致输油量不足,产生噪音,则应该修理使轴向间隙在允许范围内。
③溢流阀工作异常。
如锥阀与阀座接触处被杂质卡住、阻尼孔堵塞、弹簧歪斜或失效等使阀芯卡住或在阀孔内移动不灵导致配合不准确,没法紧闭或全开而引起系统压力波动和产生噪声。
因此要对溢流阀进行检查,应该注意清洗、疏通阻尼孔;对运动部位进行测量,如果发现有磨损超过规定要求或损坏,则应该及时修理或更换溢流阀。
④换向阀没有调整好。导致换向阀阀芯移动过快而产生了换向冲击,因而产生噪声与振动。
此时应该调整控制液压油管路中的节流阀,使换向平稳减少冲。
(3)液压油温度过高原因及解决预防:
液压系统油液的工作温度一般控制在30度到80度范围之间,油温过高会对系统产生恶性影响,如油液变质、粘度下降、泄漏增大、容积效率下降,造成速度控制不稳定会使精密贵重的密封件变质和油液氧化至失效,引起腐蚀和形成沉积物以至堵塞阻尼孔和加速阀运动部件的磨损,过高的温度将使阀件失灵,高温还会带来安全问题。
①油温升高的原因:
周围环境气温较高影响;油箱容积小、油箱储存油量太少导致散热效果差;冷却器作用失灵;系统中卸载回路堵塞,在停止工作时油泵仍在高压溢流;液压元件加工精度不符合要求相对运动件摩擦发热。
②预防措施:
a.正确选择油液的粘度、保持油液的清洁度;
b.注意保持油箱中的油位高度,以使油液有足够的循环冷却油;
c.保持冷却器内水流量充足且管路畅通,冷却风机要保持工作正常状态;
d.在克令吊不工作时,必须把油泵负荷完全 卸载。
四
日常维护及保养
通过上面对液压克令吊的检修工艺方法的分析,针对其在日常使用工作过程中经常遇到的问题,在平时中应该加以注意维护保养,使克令吊处于良好的状态,随时可以投入到工作当去。
1.日常维护
对于MCG30T一28M折臂型船用液压克令吊日常维护只要是液压油清洁度、温度、压力、油量控制,液压油管路及接头、滤器检查和液压油泵的维护。
(1)保持液压油的干净度。
因为液压系统中一些阀件的精度特别高,缝隙特别小,极微小的固体杂质都有可能导致阀件的失灵。在日常的维修中一定要注意防止杂质把液压油污染。
(2)正常的液压油温度应保持在20一60℃之间。
如果油温低于20℃时要对油柜加温并用慢速运转。
(3)液压油冷却风机确保正常工作,保证液压油冷却的关键。
(4)在液压系统中各测压点测试工作的压力 ,确保在规定数值要求范围之间。
(5)油箱油位。
液压油柜配有液位表和浮球式报警装置,使用前应检查油位并使其保持在正常位置。
(6)液压油要定期取样送岸化验。
(7)管路接头。
确认各管路及接头是否紧固、无漏泄、质量、强度安全可靠,尤其是连接软管的强度。
如果有松动及漏泄现象应及时作出必要的维修或换新。
(8)滤器清洗。
液压系统主油路和控制油路上的滤器要定期进行清洗,把赃的沉淀物清除,以防管路堵塞。
(9)液压泵、油泵马达工作时电流是否正常,有无异常噪音,泵体有没发热现象,固定螺栓有无松动。
(10)克令吊使用完成后要做防护措施,易生锈的阀件、管路接头用油布包扎起来,易松动的部件 (吊钩)要固定;电气设备要用三 防布盖起来,防止下雨天气雨水的渗入,损坏设备。
2.日常保养
该克令吊是船舶甲板设备,长期处于风吹日晒雨淋的环境当中,因此在克令吊不工作的时候,需要定期对其的设备和零部件开展正确合理的保养工作。
主要有以下事项:
(1)钢丝缆绳定期检查,要求没有毛刺,并涂抹钢丝油。
(2)油马达与吊体齿轮啮合回转处,油缸、吊臂活动处要加润滑油脂,保持其活动性能良好。
(3)定期检查克令吊的刹车装置,必要时根据实际的情况作出合理的调整,防止刹车失效。
(4)克令吊长时间没工作时需要定期进行功能试验,以确保功能一切正常。
(5)确保液压油质量良好,要保证使用规定 型号的液压油。如果液压油变质克令吊工作时表现出压力偏低,启动无力的现象。
(6)在恶劣风雨天气过后必须检查克令吊的防水情况,避免内部积水,而增加生锈锈腐蚀的几率。
五
结论
通过对MCG30T一28M折臂型船用液压克令吊系统调试、检修技术方面的了解,可以知道克令吊是否能够正常地运转很大程度上取决于其液压系统的正常运行。
液压系统作为克令吊的动力源泉,以其优越的工作性能和经济性能在船舶甲板机械中应用得越来越广泛。
熟悉液压系统的工作原理,掌握其调试、检修的工艺方法,能使克令吊以最佳的性能状态投入到工作中。
克令吊的使用质量和工作寿命侧取决于日常正确检修、维护及保养工作,时常检查系统设备使用的情况,做好防护措施,是保证克令吊正常运转,延长机件寿命、提高工作效率的重要措施。
本文原创作者系:
北海船舶检验局 姜守阳
END
感谢阅读和关注
Thanks for reading and attention
感谢分享朋友圈
或点击“在看”
因为有你,
我们会更努力!
来源:船机帮
电话:025-85511250 / 85511260 / 85511275
传真:025-85567816
邮箱:89655699@qq.com



