| 时间:2021-08-30 | 编辑:E航网 | 阅读:1292 | 分享: |
点击蓝字“船机帮”关注我们
船机故障心莫慌,遇事不决船机帮
导读
辽宁五一八内燃机配件有限公司是中国大马力发动机曲轴和模锻件专业生产厂,中国船用发动机曲轴骨干生产企业,目前拥有三条船用曲轴生产线,年产量多达五千根,基本覆盖了中国中速机船用曲轴市场。
在曲轴生产中,为确保其精度和质量符合船用要求,必须对曲柄半径(曲轴主轴颈中心线到曲柄销轴颈中心线之间的距离)进行检测。
以往检测曲柄半径的量具都是通用检具,耗工耗时,检测效率比较差。
近年来 ,随着生产规模的扩大,曲轴产量不断增加,通用检具的工作效率严重滞后于生产进度,甚至在一定程度上拖慢了生产效率。
为此,我们基于传统通用检具设计了一种检测效率更高的新型检具,其构造简单,制造简便,重量较轻,使用方便,能够满足各种工况下的船用曲轴曲柄半径的检测需求。
一
检具的结构
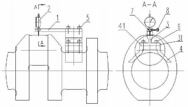
图 1 船用曲轴曲柄半径的专用检具结构
图1为船用曲轴曲柄半径专用检具的基本构造。
检具由梁杆1、安装在梁杆1前部的百分表2、固定连接在梁杆1后端的立柱3、固定连接在立柱3下端的V形架4构成;
在梁杆1的前端开有连接孔及开口衬套7和锁紧螺钉8 与百分表2配合固定安装百分表2,梁杆1的后端与立柱3的上端通过螺钉固定连接,V形架4的上端设有一平面41与立柱3的下端设有的连接板31配合通过螺钉固定连接。
检具在使用前,需通过对表模块实现百分表的对表调零。
图2 对表模块结构
对表模块的结构如图2,曲柄半径检测对表模块由主轴颈模拟轴1、曲柄销轴颈模拟轴2、连接螺钉9、定位销10构成的组合结构。
主轴颈模拟轴1直径等于主轴颈基本尺寸,长度等于主轴颈长度和曲柄臂厚度之和,曲柄销轴颈模拟轴2直径等于曲柄销轴颈直径,长度等于曲柄销轴颈长度。
曲柄销轴颈模拟轴2 的端面3按照曲轴主轴颈与曲柄销轴颈的设计曲柄半经通过连接螺钉9安装在主轴颈模拟轴1的端面4上,并用通过定位销10定位。
在主轴颈模拟轴1中心两侧加工螺纹孔,用来安装2个支撑芯轴5,支撑芯轴与主轴颈模拟轴1之间用紧定螺母6固定,支撑芯轴外端部各铣削2个平面,安装过程中使平面平行于主轴颈与曲柄销轴颈中心线组成的平面,将支撑芯轴5和对表模块整体放在开有矩形开口8的支架7上,使支撑芯轴外端部2个平面放置在支架的矩形开口处,以防止整套装置翻转。
二
使用方法
1.对表
首先检查V形架的V形面内有无碰伤和锈迹等影响测量精度的缺陷,然后将测量船用曲轴曲柄半径的专用检具的V形架放在对表模块的主轴颈模拟轴1上,使百分表触头压在对表模块的曲柄销轴颈模拟轴2表面上,转动检具绕着对表模块主轴颈模拟轴1转动,对百分表效对为0并保证表的量程有一定的压缩量。
2.测量
右手拿起对好表的船用曲轴曲柄半径的专用检具,让 V 形架放在被测量曲轴的主轴颈表面上,使百分表2触头压在相邻的曲柄销轴颈表面上,转动检具绕着主轴颈转动,观测百分表的数值,找出曲轴曲柄销轴颈最高点,读出此时百分表的数值,比照对表模块上的主轴颈直径与曲柄销轴颈直径的实际值进行简单运算,最终得到所测曲轴曲柄销的曲柄半径值。
3.计算
首先计算对表模块的曲柄销轴颈直径的理论值与实际值之差,记住该差值的正、负;
对比分析该差值与曲轴曲柄半径的实测值,若差值为正值,就用实测时的百分表示值减去该正值;
若差值为负值,就用实测时的百分表示值 加上相应的负值数值。
计算后所得即为所测量的曲轴曲柄销轴颈的曲柄半径实际值。
公司简介
辽宁五一八内燃机配件有限公司位于辽宁省丹东市,毗邻新鸭绿江大桥。
是集产品研发、生产制造、服务国内外市场于一体的中国大马力发动机曲轴和锻件的专业生产企业,船用发动机曲轴骨干生产企业,国家级高新技术企业。
公司始建于1951年,当时为支援抗美援朝而建立安东永华机械厂。
1957年自主设计制造出新中国第一台轮式拖拉机“鸭绿江1号”,
1958年5月18日,毛主席为此题写了“卑贱者最聪明,高贵者最愚蠢”的批语。
60多年来,五一八人发扬“敢为人先,追求卓越”的企业精神,自力更生,艰苦创业,产品持续创新,市场不断扩大。
公司产品覆盖汽车、工程机械、船舶、石油、矿山、铁路、压缩机、鼓风机和发电机组等领域。
“丹”牌内燃机曲轴和锻件是中国内燃机配件质量十大知名品牌,辽宁名牌。
产品为潍柴、重庆康明斯、上柴、玉柴、大柴、镇柴、安柴和美国康明斯、德国曼公司、德国MTU、日本三菱重工、芬兰瓦锡兰、美国通用、韩国斗山等国内外著名发动机制造商整机配套。
公司拥有完善的质量保证体系,通过了ISO/9001、IATF16949质量管理体系认证。
通过了美国(ABS)、法国 (BV)、中国(CCS)、挪威(DNV)、德国(GL)、韩国(KR)、英国(LR)、日本(NK)、意大利(RINA)、俄罗斯(RS)等10个国家船级社对船机曲轴的认证。
有完善的环境和安全生产体系,通过了ISO/14001环境管理体系认证和OHSAS18000职业健康安全管理体系认证。
本文原创作者系:
辽宁五一八内燃机配件有限公司
赵德军 仇衍华 于开新 王春晖
王洪臣 由 美
END
感谢阅读和关注
Thanks for reading and attention
感谢分享朋友圈
或点击“在看”
因为有你,
我们会更努力!
来源:船机帮
电话:025-85511250 / 85511260 / 85511275
传真:025-85567816
邮箱:89655699@qq.com



