| 时间:2022-04-20 | 编辑:E航网 | 阅读:1555 | 分享: |
点击蓝字“船机帮”关注我们
船机故障心莫慌,遇事不决船机帮
导读
内容Content
●1、Alfa Laval公司简介Company information
●2、离心机的应用及特点Application
●3、离心机原理Principle
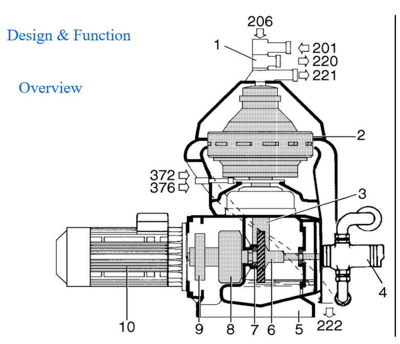
●4、离心机结构Consture
●5、离心机操作Operating
●6、控制参数说明Parameter
●7、安全须知及异常处理Safetyguideline
●8、离心机的维护/维修Maintenance
alfa laval 阿法拉伐
阿法拉伐公司总部位于瑞典斯德哥尔摩,其创始人Gustaf de Laval 是一位伟大的技术天才,他的发明包括离心式分离机和第一台实用的蒸气式涡轮机。
他一生注册了 92 项专利并创建了 37 家公司。
1883 年,他和自己的合作伙伴 Oscar Lamm Jr. 创建了 AB Separator 公司,这个公司正是当今阿法拉伐公司的前身。
阿法拉伐公司的核心业务基于 3 项关键技术:
热交换、分离和流体处理。
这 3 项技术对各行各业的工业公司均具有重大意义。
阿法拉伐公司在自己的业务领域内占据着全球领先的市场地位。
阿法拉伐公司历经125年仍然活力无穷,持续不断的开发工作。
阿法拉伐公司的业务基于 3 项在全球领先的关键技术:
热交换、分离和流体处理。
持续不断的产品开发是增强竞争优势不可或缺的条件。
公司每年将总销售收入的 2.7% 左右投入研发工作,每年都会发布 25 到 30 种的新产品。
盈运无间,用户的放心源自优良的服务。
对阿法拉伐公司而言,“服务”是一个涵盖方方面面的总体概念:
从提供不起眼的备用零件到共同维护产品使用性能。
阿法拉伐公司拥有全球性服务网络(分布在 50 多个国家的数百个地点,并配备有 200 多位熟练的服务专家)、一系列充满竞争力的服务解决方案以及 120 余年的业务和服务经验。
1、主要产品介绍
二、阿法拉伐油处理离心机原理
1、有关离心分离的理论
2、离心分离机的工作原理
来源:船机帮
电话:025-85511250 / 85511260 / 85511275
传真:025-85567816
邮箱:89655699@qq.com



