| 时间:2022-06-25 | 编辑:E航网 | 阅读:1568 | 分享: |
点击蓝字“船机帮”关注我们
船机故障心莫慌,遇事不决船机帮
导读
“德翔轮”是交通部九五期间建造的功率最大,设备最先进的一艘远洋拖轮,其配备两台1200KW的轴带发电机和两台600KW的柴油发电机。
然而发电柴油机作为全船的重要设备之一,有时他的工作性能却不能令人满意。
下面我就平时使用过程中,出现的各种问题,与各位同行商讨!
其发电柴油机为镇江柴油机厂与MAN柴油机厂合作生产的6T23LH-4E型柴油机,其在运行过程中高压油泵的弹簧频繁断裂,柱塞经常卡死,本文结合该故障,首先介绍了发电柴油机的燃油系统、喷油泵、燃油输送泵的工作原理和特点。
然后根据故障现象和拆装检查,分析故障起因,查出故障所在,并采取有效方法消除了故障。
最后总结了发电柴油机在日常维护保养中的注意事项。
一、引言
“德翔轮"为烟台打捞局专业救助打捞船舶,其设备的运行是否良好关系到海难救助的成功与否。尤其是在船舶靠泊遇难船舶时,如果此时失去电力,更将会引起无法预料的后果。
因此作为一名轮机管理人员,更应当保证其良好的运行。
二、发电柴油机故障现象
一次在锚地抛锚时,值班机工在机舱例行检查时发现一号发电机的四号缸排烟温度低于100度,明显低于其他缸的200多度,所以判定一号发电机的四号缸缸内无燃烧做功过程,证明其已停止喷油。
由于并不是第一次出现这种情况,所以大家对这一故障并不惊奇,按照以前的思维方式判定,肯定又是高压油泵出现了问题。
拆解四号高压油泵,发现弹簧已经断裂,弹簧換新后装复,同时拆解其他五个缸的高压油泵检查,发现其中三个已经断裂,只不过断裂位置在两端,对弹簧弹性影响不大,故没有发生停止喷油的状况,弹簧換新后装复,并检查喷油器等其他原件正常后试车运转正常。
可是经过二个多月的运转后,又发生了同样的事情,仍有高压油泵弹簧折断的现象。
这不得不令我们对此故障进行重新分析。
三、发电柴油机的燃油系统
燃油系统包括供应和喷射两个系统。
供应系统一般由日用油柜、输油泵、燃油滤器和低压管路等组成。
用来向喷射系统提供充足、清洁的燃油。
喷射系统由喷油泵、高压油管、和喷油器组成。
用来按照柴油机燃烧过程的要求,定时、定量、定压地向气缸内喷入雾化良好的燃油,与空气混合形成均匀的可燃混合气使燃油燃烧,将燃烧的化学能转化为热能。
1、管路系统
如图1所示来自辅机日用柜的燃油系统工作原理。
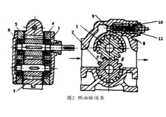
2、燃油输送泵的工作原理
我船发电柴油机的燃油输送泵为通过爪型联轴节连接的机带齿轮泵,如图2所示。
图中各序号分别为:
1-主动齿轮; 2-从动齿轮; 3-泵壳前盖; 4-前端盖; 5-后端盖; 6-泵壳后盖; 7泵壳; 8-阀套; 9-稳压阀; 10-弹簧; 11-弹簧座。
3、燃油滤器的工作原理
燃油滤器用来滤除燃油中的杂质。
实践证明,燃油系统的故障很大部分是由于柴油不清洁所弓|起的。
燃油的清洁程度对燃油系统各部件的使用寿命和工作可靠性有直接关系,因此,燃油必须经过精细的过滤。
我船滤器原为双筒网片式滤器,滤器壳体内装有两组可更换的网式滤芯,用三通旋塞控制交替使用,型号为SBL20,流量为1方每小时,公称压力为0.8MPa。
后在某次大修时将滤芯换为由一鼠笼和在其上紧密缠绕的金属丝组成的表面式和缝隙式的改良型滤芯。
如图3所示为圆筒形金属滤器。
燃油从滤芯由外向网内流动,将颗粒较大的杂质滤出,清洁的燃油由圆简内向下流动经出口流出滤器。
这种滤芯孔隙分布均匀,有良好的渗透性,性能稳定,使用寿命长,经清洗后可反复使用。
4、喷油泵的工作原理
我船发电柴油机的喷油泵为回油孔式喷油泵,它可以产生喷射高压,对供油量进行定时定量的控制。
图4中各序号分别为: 1-柱塞; 2-套筒; 3-出油阀座; 4-喷油泵本体;5-出油管接头; 6-出油阀弹簧; 7-出油阀8-定位螺钉; 9调节齿套; 10-齿圈; 11-弹簧上座; 12-弹簧; 13-导程筒; 14弹簧下座; 15-卡簧; 16-导销;17-放气螺钉; 18-进油管接头; 19-调节齿条; 20-观察窗孔; 21-指示片。
套筒上部对径方向钻有两个孔,左侧的圆形孔为进油孔,右侧的孔为回油孔。
进回油孔使套简外部的低压贮油室与套简内腔连通。
柱塞上设有直槽、斜槽和环槽,这些槽道与套简上回油孔相配合,用来控制柱塞的有效行程,以获得不同的供油量。
调节齿套9的上部紧固着齿圈10与调节齿条相啮合。
导销16插入齿条背部的长槽内起导向作用,以防止齿条歪斜与齿圈卡住。
拉动齿条,调节齿套随之转动并带动柱塞相对于套筒转动,改变了柱塞上斜槽与套简上回油孔的相对位置,从而改变了供油量。
当齿条位置一定时,柱塞斜槽边与回油的相对位置也就确定,即柱塞的有效行程和供油量也就确定了。
柱塞下端接弹簧盘14及柱塞弹簧12。
喷油泵供油动作通过凸轮顶头顶动柱塞上行完成,而柱塞的吸油动作则靠弹簧使柱塞下行而完成。
调节齿条19上有刻线,指示喷油泵供油量。
在多缸柴油机中各缸喷油泵调节齿条19与油量调节杆相连,油量调节杆受油量操纵手柄和调速器控制。
在各齿条与油量调节拉杆的连接处,可单独调节移动齿条,使各喷油泵的零油位和最大油位的齿条位置一致。
出油阀,是装在喷油泵内控制高压燃油排出的单向阀。
它由出油阀座3和出油阀7组成,两者为偶件配合。
出油阀在出油阀弹簧和高压油管中的残余压力作用下与阀座紧密贴合。
这样,在柱塞吸油行程时,出油阀能阻止高压燃油倒流回喷油泵的泵油腔,使高压油管中始终充满燃油。
当柱塞上行关闭回油孔,泵油腔内油压迅速升高到足以克服出油阀弹簧弹力和高压油管中残余压力的作用时,出油阀被推起,燃油进入高压油管,使喷油器迅速喷油。
当喷油结束油压下降时,出油阀受弹簧作用而迅速回落,把高压油管与喷油泵泵油腔分隔开。
四、故障分析与诊断
1、高压油泵弹簧频繁断裂的原因分析
一般来说高压油泵弹簧断裂是由于外来硬物夹入弹簧中或安装有缺陷引起的,但是弹簧频繁断裂就可以将这种情况予以排除。
分析高压油泵弹簧频繁断裂的原因主要有两种:
一是我船所上的这批高压油泵弹簧存在严重的质量问题,纯属假冒伪劣产品,所有这些新上的弹簧都不合格。
可是这批新上的弹簧都是由原厂家定制的,质量应该有保障,所以这个可能性有但是不大。
第二种可能原因是弹簧热疲劳而断裂。
发电柴油机的高压油泵的弹簧一直处于频繁受力的状态,而且所受到的力是不断变化的,在高强度的工作中和容易疲劳断裂。
而且一号发电柴油机因故障停车时,用手拉动油门拉杆,在刚刚停车时没能拉动,待机器冷却后,可以很容易的拉动油拉杆,这就说明一号发电柴油机在运转的过程中,高压油泵的工作温度很高,并且散热情况也不是太理想,最后导致高压油泵的柱塞和套简受热膨胀十分严重,进而柱塞偶件卡死。
与此同时,热量也向下传导至弹簧,弹簧出现热疲劳而断裂。
在拆解四号缸的高压油泵时,我们抽出高压油泵的柱塞也没有发现其有偏磨现象,由此可见故障原因与高压油泵的高温有很大关系。
2、高压油泵高温的原因分析
高压油泵高温的原因主要有两种:
一种是发电柴油机的产热增加,另一种是发电柴油机冷却不良。
一号发电柴油机在正常运行时排烟温度基本稳定在240℃左右,缸套温度保持在55℃左右,同时检查高压油泵的柱塞偶件柱塞和套简之间运行良好,无严重偏磨现象,这也就说明发电柴油机正常运转过程中所产生的热量基本不变,燃油回油管温度偏高最大可能就是燃油回油的流量不够,机器产生的热量不能全部带走。
柴油机回油的流量不够,有两方面的原因:
第一种原因就是进机的燃油流量足够大,但是燃油在柴油机内流动时,由于燃油管破裂,燃油外泄,导致回油流量不够,但是检查时没有发现存在燃油外泄的现象,而且从燃油日用柜的液位推算发电柴油机的日消耗量基本不变,所以这种情况就可以排除掉。
第二种可能原因就是进机的燃油流量本来就不足导致回油流量的不足。
检查时发现燃油回油总管的截止阀处于微开状态,从而导致回油流量的减少。
但是如果开大回油总管上的截止阀,燃油压力又大幅下降。
(先前其他管轮在管理发电柴油机时,已经发现一号发电柴油机的燃油压力低,也做过相应的检查工作,清洗更换滤器,也没起到多大的作用,所以为处理燃油压力低而将回油管上的截止阀只稍微开一点,迫使燃油压力升高,然而即便如此燃油压力也只有0.17MPa,远低于说明书规定的0.2至0.3MPa。
因此高压油泵高温就是由燃油压力低造成的。
3、燃油压力低的原因分析
发电柴油机的燃油压力低主要原因有五种:第一原因也是最可能的原因就是燃油滤器脏堵,可是无论我们是清洗燃油滤器还是换新,燃油的压力有所升高,但是变化不大。
第二种原因就是燃油输送泵单向阀的调节弹簧的预紧力不够,在开大回油阀的情况下,调节燃油输送泵的调节弹簧座11,加大弹簧的预紧力,燃油压力进本没有变化,在弹簧后端加垫片,以增加单向阀的开启压力,装复后调节弹簧座11,燃油压力无变化。
第三种原因就是燃油输送泵的排出端存在漏泄情况,因为前面已经检查过了,所以这种情况也被排除了。
第四种情况就是燃油输送泵的稳压阀漏泄,密封不良,拆解稳压阀,阀与阀套接触不良,有轻微的磨损,经研磨后装复,密封性能良好,燃油压力有所升高,但是升幅不大,只有0.2MPa。
第五种原因就是输送泵已经损坏,端面密封或齿轮啮合存在问题。
将机带燃油输送泵拆解,端面密封良好,齿轮啮合良好,燃油输送泵应当可以建立足够的排压。
一切重新装复仍然无法达到足够的油压,使我们的维修工作一时陷入了僵局。
4、滤器的影响
从而导致燃油滤器前后压降较大,燃油输送泵排出的大部分燃油经稳压阀9卸回吸入口,造成进机燃油量大幅减少,回油量随之减少,高压油泵和喷油器的散热状况不良,导致高压油泵弹簧热疲劳而断裂。
5、故障的解决
二管轮在清洗发电柴油机的滤器时,发现滤器经过柴油的长期浸泡,用刷子可以清除滤器表面的污垢,但是滤器滤网内的污垢无法清除,后来采用高温火焰燃烧,才清除部分污垢。
用手堵住滤器的一端,从另一端对着灯光观察滤器,仍然看不到灯光。
按照这种方法观察新滤器,灯光也是十分的微弱。
我船发电柴油机使用的0号柴油,相对来说应该十分清洁,没有必要采用如此高过滤精度的滤器,从新滤器中挑选两个过滤精度稍低的滤器(按照上述方法检测灯光较强的滤器)装复之后,燃油压力变化幅度足够大已经升至0.5MPa,调节弹簧座11,并使压力稳定在0.30MPa,此时回油总管上的截止阀半开,回油温度也不如从前那么高了,已经降至35℃左右。
发电柴油机运行正常,再也没有出现过高压油泵卡死或频繁断裂的情况。
六、总结
本文叙述了6T23LH一4E型发电柴油机高压油泵弹簧频繁断裂的故障,分析其工作原理,我们得出结论:
由于燃油进机滤器精度选择不合适造成该故障。
我们在实际的拆装检修过程中,对整个发电柴油机的燃油系统进行分析,发现燃油进机滤器精度过高,超过了实际的需要。
通过本文告诉我们对轮机的管理,千万不可忽略任何一个小小的问题,小问题就可能引发大事故,所以我们轮机管理也应当注重细节管理,任何现象的出现都是有原因的,发现了问题就应当尽快分析出其原因,如有可能也应当尽早解决这些小问题,以免引发大事故。
本文原创作者系:
烟台打捞局救捞航运处 李书霖
END
来源:船机帮
电话:025-85511250 / 85511260 / 85511275
传真:025-85567816
邮箱:89655699@qq.com



