| 时间:2021-04-08 | 编辑:E航小E | 阅读:821 | 分享: |
一
实例
X轮1997年下水,主机机型为HITACHI B&W 6S60MC型。
在主机运转约29000小时时发生第1缸扫气道着火,不得不航行中停车吊缸。
到港后对扫气道进行检查,各缸活塞下部空间无太多积炭,各缸放残考克拆卸检查无脏堵,航行中节流板处气流声很大。
通过以上迹象,管理人员认为可能燃油系统的故障是引起此次第1缸扫气道着火的原因,于是更换掉第1缸两只油头。
然而在主机运行到约31300小时和31700小时时发生第2缸和第1缸、第6缸活塞环断环现象,缸套也有较大的磨损,不得不提前吊缸检修。
检修时间如附表。

表1 X轮检修时间表
由以上附表可以看出,第1缸在连续很短的检修时间里发生扫气道着火,断环现象。
同时第2缸,第6缸也在很短的检修时间里发生断环现象,决非偶然,一定存在某种原因导致以上故障的发生,原因找不到可能还会导致其它缸发生类似断环现象。
于是该轮管理人员又开始分析寻找原因。
一次偶然机会从《航海技术》2003年第1期上见到了宋汝涛先生关于 “主机单缸异常磨损原因分析”的文章。
对照文章,发现该轮的故障与文章中提到的某轮很相似。
由于X轮与文章中提到的某轮的主机机型相似,总运转时间差不多,虽然没有那么明显的故障迹象,但是该轮管理人员还是把故障原因锁定在扫气道放残管路上,于是对全部放残管路拆开检查。
检查结果如下:
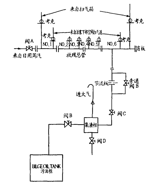
(如图所示)

(1)各缸放残考克及支管路正常;
扫气箱两放残考克及支管路正常;
放残总管去污油柜管路正常。
(2)放残总管管壁结炭严重,虽未完全堵死,但流道已很狭小。
二
采取措施
对放残总管各段拆卸,清通装复。
三
日常保养
(1)定时检查,清洁扫气道并确认各缸放残考克及支管路正常;
(2)定时关闭各缸放残考克及扫气箱两放残考克,打开放残总管上的蒸气阀,对放残总管及以下管路吹通,并打开放残总管端部盲板观察内部情况,以确认放残总管畅通,然后关闭放残总管上的蒸气阀,打开各缸放残考克及扫气箱两放残考克,恢复正常放残;
(3)每天定时打开放残阀D,放空集渣柜内的污油及残渣,直到有气吹出,以确保集渣柜完全畅通;
(4)值班人员注意监听节流板处,确认有较大气流声。通过以上工作,X轮主机存在的以上故障得以解决。
四
原因分析
如图示,放残总管分成水平四段,第1,2 缸离放残总管出口较远,放残不畅,第6缸虽离放残总管出口较近,但由于放残流道狭小,因而导致以上故障发生。
“炼油技术的提高,使剩余渣油占石油比例越来越少,质量越来越低,现在船用燃料油 380cst,180CST都是渣油与柴油按比例调和而成,渣油中的各种金属渣质和非金属渣质及催化剂粒子燃烧中形成坚硬的固体残渣,通过扫气口落人扫气箱,燃烧产生的固体残渣酷似炼钢中的钢渣,坚硬而又比重较大,凡是清洁过扫气箱的人员都会有体会,半桶残渣提起来比满桶水还要重。
主机运转中,放残总管的压力基本上与扫气箱压力相同,管路畅通时,各缸的污油水及时流入了泄放柜,活塞下部空间扫气箱是干的,没有污油水,不畅通的缸,污油水不能及时流出,积存在活塞的下部空间,而且液位升高,该缸活塞下行到下死点时,气体冲吹污油水,使污油水夹杂细小固体颗粒飞溅随扫气进入气缸,加快活塞令与缸套磨损。”
(详细分析请见上一篇推文《主机单缸异常磨损原因分析》)

本文原创作者系:
中远(香港)航运有限公司 崔 凯
END
来源:网络
电话:025-85511250 / 85511260 / 85511275
传真:025-85567816
邮箱:89655699@qq.com



