| 时间:2021-07-17 | 编辑:E航网 | 阅读:2013 | 分享: |
点击蓝字“船机帮”关注我们
船机故障心莫慌,遇事不决船机帮
导读
柴油机作为船舶主机的一种常见机型,柴油机不能正常启动是一个综合性的易发故障,掌握柴油机无法启动的原因与解决措施,对于轮机管理人员来讲十分必要。
在寻找原因与解决办法时, 既要从柴油机供油系统、进气系统、操纵机构、操作与环境、启动控制系统等多方面因素进行考虑,同时还要具体问题具体分析, 根据具体故障现象,查找故障根源,采取有效措施排除故障,同时应加强主机预防性维修工作,减少柴油机不能启动故障概率,提高船舶主机可靠性。
一
故障现象
某轮共2台主机,型号为瓦锡兰8L46C柴油机,四冲程中冷增压,额定转速500rpm,主机启动转速超过120rpm发火。
某年12月14日,备航在对右主机启动时,连续启动多次,主机均未能正常启动。
具体现象为:
主机启动后,在启动空气的作用下转速达到120rpm,但主机不发火,启动失败。
二
故障初步分析
主机曲轴旋转,但不发火的原因主要有以下3个方面:
一是主机启动空气系统故障;
二是燃油供油系统故障;
三是进气系统故障。
具体常见原因如下。
(1)启动空气故障,导致发动机转速过低。
启动空气压力过低, 系统未正常接通,阀件未开到位,空气滤芯脏堵,主起动阀、慢转阀、起动电磁阀故障等。
(2)停车装置未复位。
主机淡水温度高、曲轴箱油雾浓度高、滑油低压等安保停车未复位,超速保护装置故障等。
(3)控制系统设置不正确。
供油控制轴或调速器的负荷限制设定过低,起动燃油限位装置设定点不正确。
(4)燃油系统故障,柴油机供油不足。
燃油压力不足,燃油泄漏, 燃油滤器堵塞,燃油泵故障,燃油中含有水分杂质等。
(5)气缸压缩压力过低,进气阀或排气阀在开启位置卡住,处于“负气阀间隙”。进气系统不畅堵塞。
(6)调速器故障。
调速器助力油缸不动作,调速器滑油污染,内部机构损坏。
(7)供油控制操纵机构故障。
操纵机构不灵活,主机高压油泵 卡滞,高压油管泄漏量大,喷油器雾化效果差。
三
故障排查与解决
多次启动主机无法发火,岗位人员迅速对故障展开排查。
(1)启动空气系统正常,启动压力在正常范围,检查测试电磁阀正常。
(2)主机安保停车各环节要素正常,未出现报警故障。
(3)控制系统设置均为出厂设置,未进行过修改,设定值复查正确。
(4)燃油系统全面检查,系统供油正常。
(5)通过盘车、冲车,气缸活塞压缩正常。
(6)调速器检查,未发现明显问题。
(7)供油机构外观检查正常。
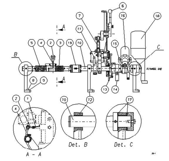
图1 供油机构示意图
图1为供油机构示意图,拆除调速器弹簧连接杆(16)与供油机构连接螺钉(20),手动活络供油机构, 发现供油操纵机构卡滞,需要用很大力气才能使机构运动。
比对总杆供油量刻线与各高压油泵齿条刻线,发现右主机3#、4#、 6#、7#缸供油量明显偏小,几乎接近于零。
拆除3#、4#、6#、7#高压油泵齿条与总杆供油机构连接件(2),手动拉动齿条(1)不动作。
关闭高压油泵停车活塞缸气路,齿条仍然卡滞不动。
初步判断为高压油泵齿条机构卡滞故障。
为进一步确定故障部位,岗位人员按照工艺要求,依次对4台故障高压油泵拆检、解体检查,发现6号、7号缸高压油泵柱塞底部内弹簧以及3号、4号高压油泵内外弹簧均断裂,7号缸高压油泵上弹簧盘和齿圈损坏。
对其余部件清洗检查,未见异常。
由于船上无弹簧备件,更换了4台备用高压油泵,并对操纵机构轴承点加注润滑脂,灵活性检查正常,总杆供油齿条刻线与各缸高压油泵齿条刻线一致。
装复完成后,启动主机发火正常。
后停靠江阴母港联系设备厂家,按照预防性维修理念,对2台主机其余高压油泵解体检查,发现右主机5号、8号高压油泵柱塞底部内外弹簧也均已断裂, 左主机弹簧与右机类似,存在不同程度磨损。
对弹簧予以全部更换,至此故障隐患得以解决。
四
故障机理分析
主机高压油泵是主机喷射系统的核心部件,其主要作用定时定量控制产生高压燃油进入喷油器喷射。
高压油泵的主要零件是由柱塞和套筒所构成的偶件。
柱塞上设有直槽、斜槽和环槽,套筒上开有2个圆孔。
柱塞中部与调节齿圈用键连接,齿圈与齿条啮合,拉动齿条可转动柱塞以调整柴油机的循环供油量。
柱塞下端接上下弹簧盘及柱塞弹簧。
高压油泵供油通过凸轮顶头顶动柱塞上行完成,而柱塞的吸油动作则靠弹簧使柱塞下行来完成。
调节齿条上有刻线,指示高压油泵供油量。
各缸高压油泵齿条通过连接螺钉与油门操纵机构总杆相连,通过调速器拉动操纵总杆实现供油量的总调各缸高压油泵调节齿条对面装有停车活塞缸,当电控超速保护系统给出指令,或自动停车系统动作时,30bar的控制空气作用在停车活塞缸上,将高压油泵的油门齿条推向零供油位置。
对拆下来的弹簧检查,发现弹簧上下三圈平面磨损严重,断裂处也多发生在此位置(如图2、3所示)。
图2 新旧弹簧比较
图3 断裂弹簧
同时发现高压油泵内部件浮锈油泥较多,内外弹簧表面镀层均有不同程度的剥落斑点,弹簧韧劲有所下降。
高压油泵柱塞底部弹簧主要起到缓冲恢复柱塞行程的作用,弹簧在工作中不仅受压应力、拉应力及冲击应力,还承受扭转应力,在弹簧的内表面,剪切应力值最大,其应力集中的敏感性十分重要,一旦材料表面有微小的缺陷或裂纹存在,应力马上会集中在缺陷的周围,导致材料的晶格产生扭曲破坏,随着应 力的不断循环,缺陷形成疲劳核心,并不断扩展,与此同时,集中 的应力也逐渐增大。
一旦集中的应力大于材料的极限应力,就会 造成弹簧早期的疲劳断裂。
弹簧断裂后,由于弹簧上下部没有足够的径向约束体,断裂的两段弹簧在承受压缩时会发生歪斜,不再与柱塞中心线保持一致,同时弹簧的弹力也会下降很多(如图4所示)。
图4 弹簧断裂示意图
当柱塞受凸轮顶杆的推挤向上运动时,柱塞通过下部弹簧座同时挤压弹簧,两截弹簧受力都不是上下垂直方向,将对柱塞、齿圈产生横向推力。
当柱塞受到横向推力并试图在套筒中往复运动或转动时,会与套筒产生较大的附加侧向摩擦推力。
当齿条试图拉动齿圈,并带动柱塞转动时,由于柱塞、齿圈同时受阻,造成操纵机构卡滞供油不畅。
断裂弹簧在凸轮顶杆的来回推挤向,当弹簧卡滞在齿圈下端时,将会造成齿条固定在一个位置无法转动,该文有主机4个缸齿圈均卡滞在零位,造成主机供油操纵机构卡滞,在启动空气作用下主机曲轴转动,但未供油,主机无法发火启动失败。
某轮2台主机运行均已接近20000 h,弹簧上下三圈平面磨损严重,部分镀层脱落受到腐蚀破坏,成为应力集中区,所以,此次故障定位为高压油泵柱塞弹簧磨损韧性下降疲劳损坏。
五
结束语
通过此次故障排查分析,给岗位人员积累了宝贵经验,为避免类似故障发生,今后在对主机管理中,应对高压油泵予以更加关注,做好以下几点。
(1)密切关注主机排温、高压油泵供油情况,定期对主机齿条操纵机构灵活性检查,比对供油总杆刻线与各缸高压油泵齿条刻线是否一致。
(2)开启燃油分油机净化主机燃油,加强主机燃油日用柜放残, 防止水分杂质进入高压油泵。
(3)大修时,对高压油泵弹簧磨损及韧性进行检查,视情更换。
本文原创作者系:
中国卫星海上测控部 曹新玉 江峰 宋强
END
感谢阅读和关注
Thanks for reading and attention
感谢分享朋友圈
或点击“在看”
因为有你,
我们会更努力!
来源:船机帮
电话:025-85511250 / 85511260 / 85511275
传真:025-85567816
邮箱:89655699@qq.com



